首页
专利数据库
产业人才
行业动态
产业政策法规
维权援助
个人中心
登录/注册
详情
文本
图像
标题:
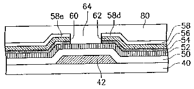
Manufacturing process of thin film transistor liquid crystal display with one mask
授权日:
2003-03-25
公开(公告)号:
US6537840
申请日:
2001-10-12
公开(公告)日:
2003-03-25
当前申请(专利权)人:
AU OPTRONICS CORP.
发明人:
TSENG, SHIUH-PING
简单同族:
TWI220029B | US20020052058A1 | US20030136991A1 | US20060038181A1 | US6537840 | US6956626
简单同族成员数量:
6
简单同族被引用专利总数:
60
诉讼案件数:
0
法律状态/事件:
授权 | 权利转移