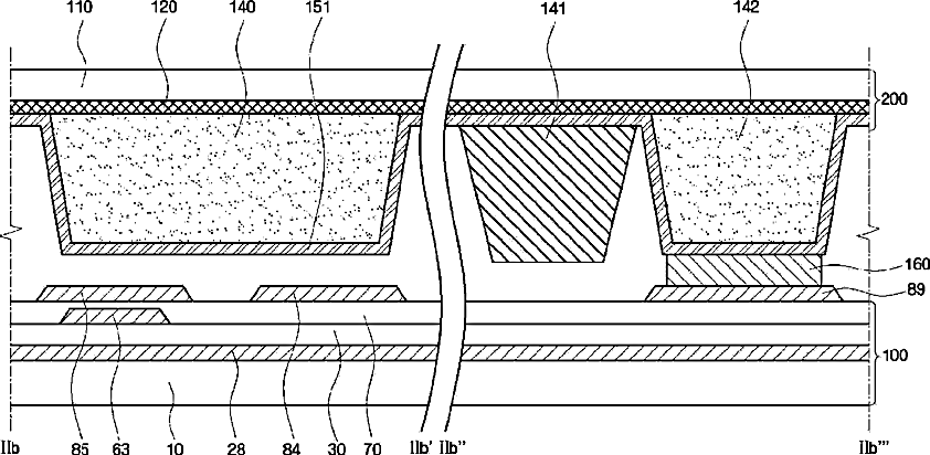
标题:
Liquid crystal display having sensor and spacer arrangement and and method of manufacturing the same
授权日:
2012-03-13
公开(公告)号:
US8134652
申请日:
2008-07-15
公开(公告)日:
2012-03-13
当前申请(专利权)人:
SAMSUNG DISPLAY CO., LTD.
发明人:
RHO, SOO-GUY | LEE, SEONG-JUN | PARK, CHUL-HWAN | UH, KEE-HAN
简单同族:
KR101587910B1 | KR1020090079159A | US20090180043A1 | US8134652
简单同族成员数量:
4
简单同族被引用专利总数:
55
诉讼案件数:
0
法律状态/事件:
未缴年费 | 权利转移