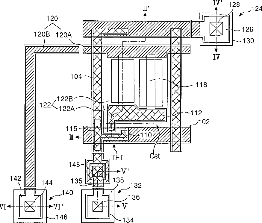
标题:
Liquid crystal display device and fabricating method thereof
授权日:
1900-01-01
公开(公告)号:
US20060139548A1
申请日:
2005-12-20
公开(公告)日:
2006-06-29
当前申请(专利权)人:
LG DISPLAY CO., LTD.
发明人:
AHN, BYUNG CHUL
简单同族:
CN100397224C | CN1794076A | JP2006184903A | JP4612539B2 | KR101085132B1 | KR1020060073373A | US20060139548A1 | US20110063556A1 | US7859639 | US8111363
简单同族成员数量:
10
简单同族被引用专利总数:
87
诉讼案件数:
0
法律状态/事件:
未缴年费 | 权利转移