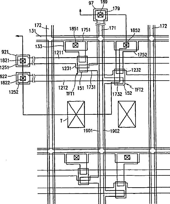
标题:
Thin film transistor array panel for liquid crystal display
授权日:
2004-03-23
公开(公告)号:
US6710372
申请日:
2002-08-26
公开(公告)日:
2004-03-23
当前申请(专利权)人:
SAMSUNG DISPLAY CO., LTD.
发明人:
KIM, DONG-GYU
简单同族:
AU2002367982A1 | CN100416388C | CN1555506A | JP2005527857A | KR100848099B1 | KR1020030091357A | US20030218178A1 | US20040173797A1 | US20050242351A1 | US20090004787A1 | US6710372 | US6969872 | US7403239 | WO2003100512A1
简单同族成员数量:
14
简单同族被引用专利总数:
171
诉讼案件数:
0
法律状态/事件:
授权 | 权利转移