首页
专利数据库
产业人才
行业动态
产业政策法规
维权援助
个人中心
登录/注册
详情
文本
图像
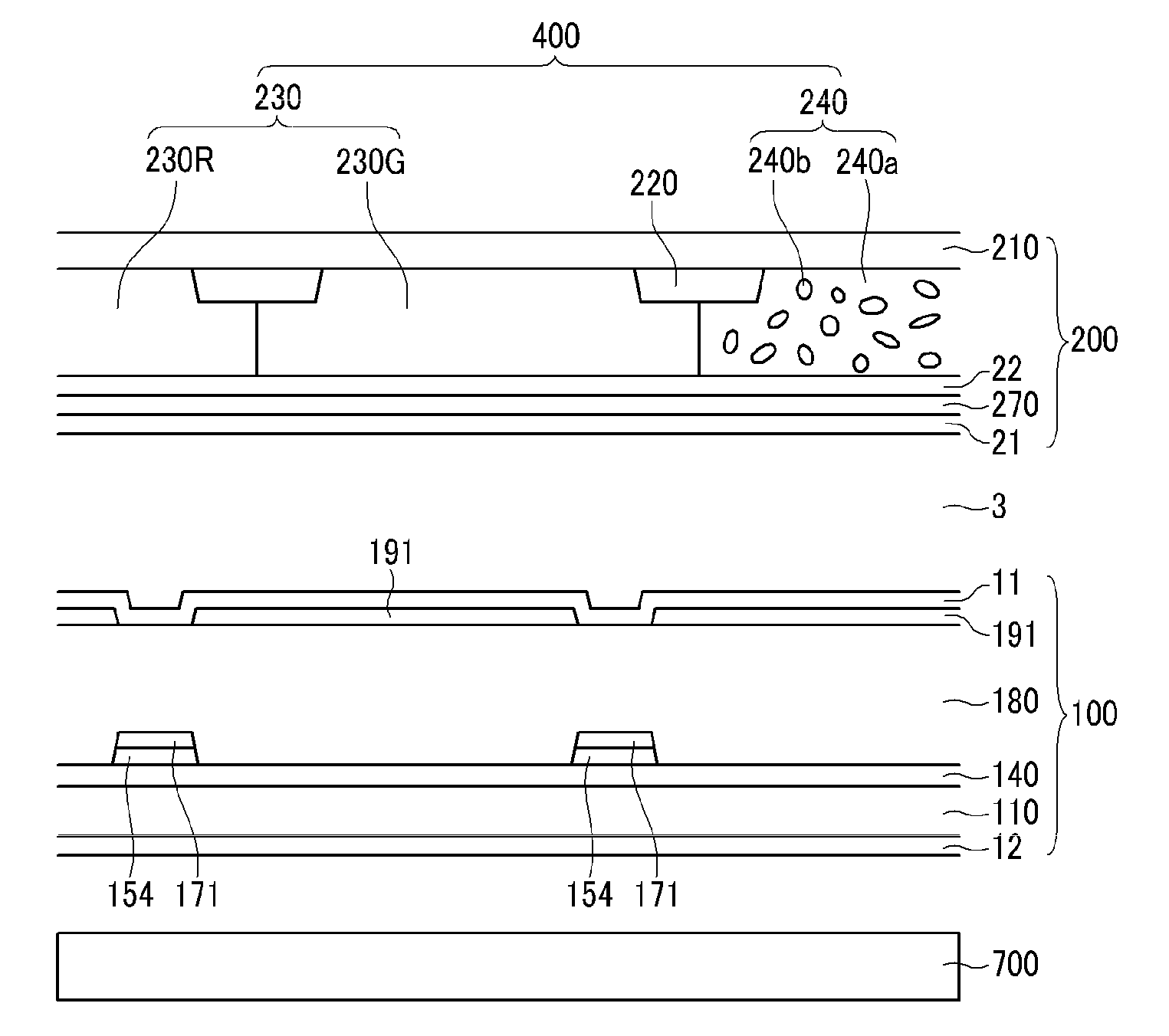
标题:
Liquid crystal display
授权日:
1900-01-01
公开(公告)号:
US20100079704A1
申请日:
2009-08-17
公开(公告)日:
2010-04-01
当前申请(专利权)人:
SAMSUNG DISPLAY CO., LTD.
发明人:
CHO, DON-CHAN | PARK, JAE-BYUNG | BYUN, JIN-SEOB | PARK, HAE-IL
简单同族:
US20100079704A1 | US8294848
简单同族成员数量:
2
简单同族被引用专利总数:
84
诉讼案件数:
0
法律状态/事件:
授权 | 权利转移