首页
专利数据库
产业人才
行业动态
产业政策法规
维权援助
个人中心
登录/注册
详情
文本
图像
标题:
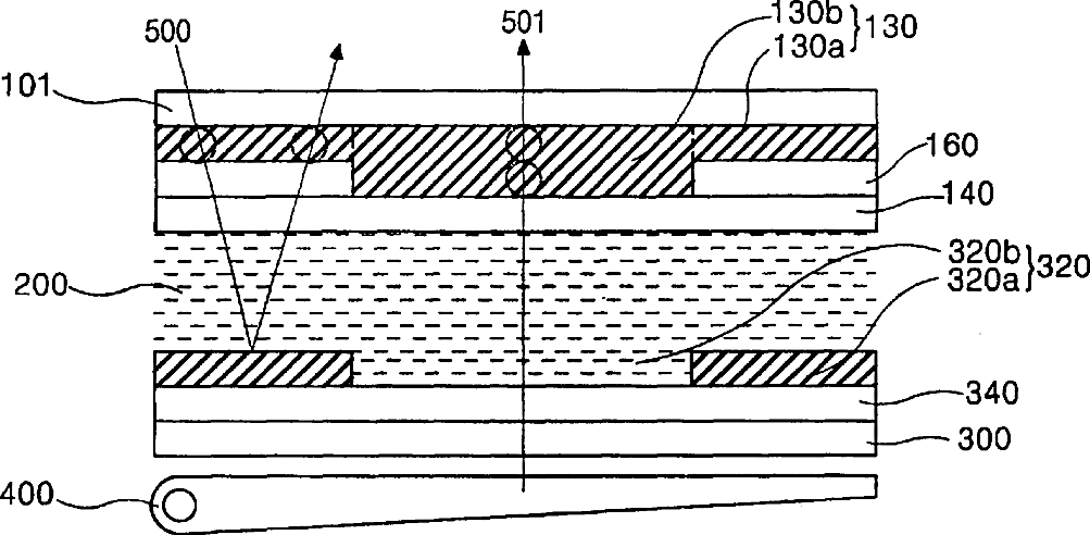
Transflective liquid crystal display device having reflective and transmissive mode parity
授权日:
2004-02-24
公开(公告)号:
US6697135
申请日:
2000-10-27
公开(公告)日:
2004-02-24
当前申请(专利权)人:
LG DISPLAY CO., LTD.
发明人:
BAEK, HEUM IL | KIM, YONG BEOM | HA, KYOUNG SU
简单同族:
US6697135
简单同族成员数量:
1
简单同族被引用专利总数:
91
诉讼案件数:
0
法律状态/事件:
授权 | 权利转移