首页
专利数据库
产业人才
行业动态
产业政策法规
维权援助
个人中心
登录/注册
详情
文本
图像
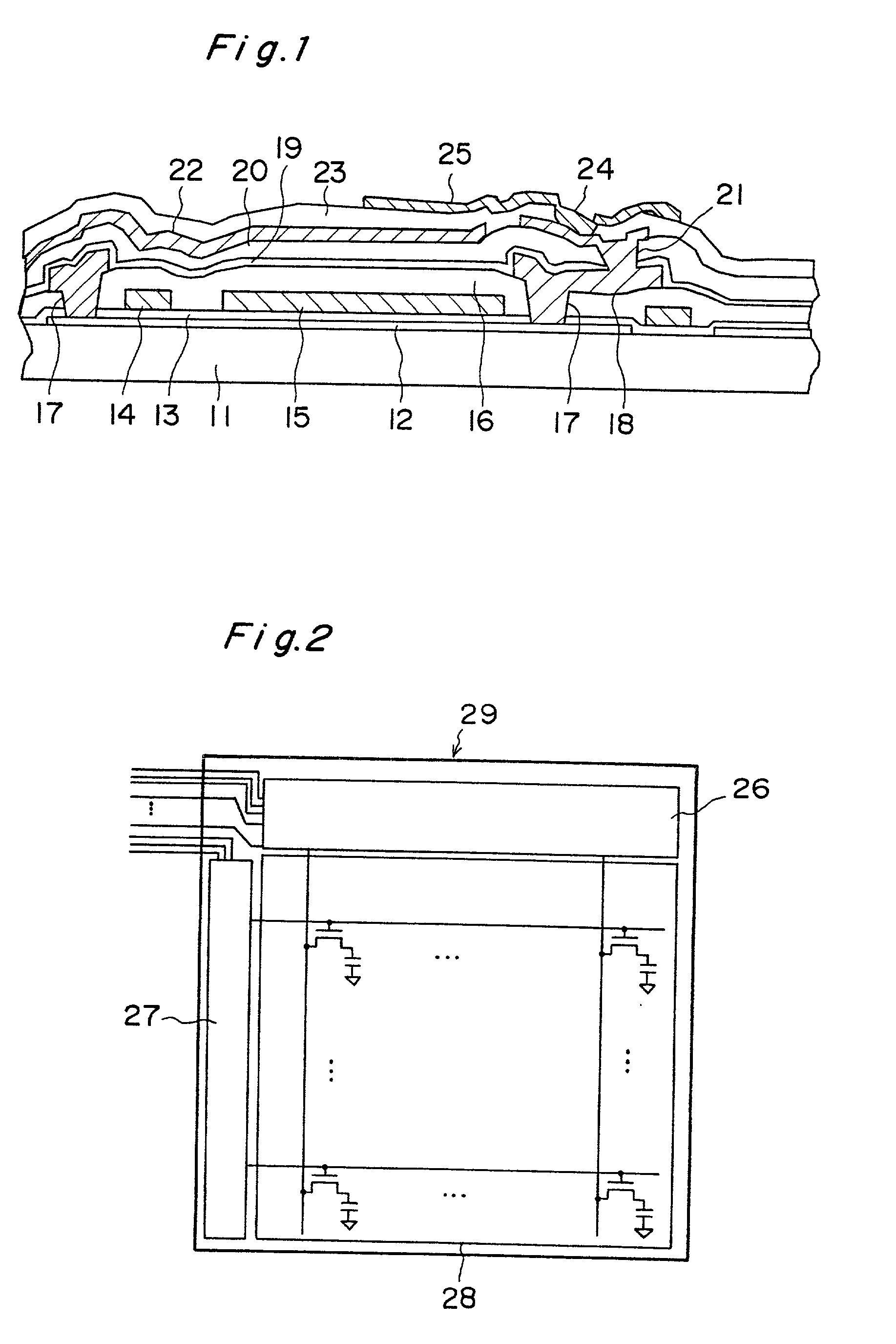
标题:
Liquid crystal display device
授权日:
1900-01-01
公开(公告)号:
US20010003446A1
申请日:
2000-12-08
公开(公告)日:
2001-06-14
当前申请(专利权)人:
SHARP KABUSHIKI KAISHA
发明人:
TAKAFUJI, YUTAKA
简单同族:
JP2001228457A | KR100375749B1 | KR1020010062208A | TW491987B | US20010003446A1 | US6618033
简单同族成员数量:
6
简单同族被引用专利总数:
76
诉讼案件数:
0
法律状态/事件:
授权 | 权利转移