标题:
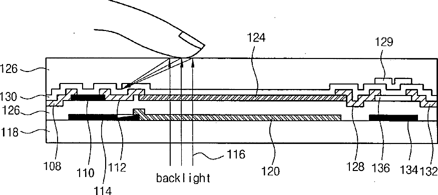
Liquid crystal display device performing both image display mode and fingerprint recognition mode
授权日:
1900-01-01
公开(公告)号:
US20030174870A1
申请日:
2002-12-30
公开(公告)日:
2003-09-18
当前申请(专利权)人:
BOE-HYDIS TECHNOLOGY CO., LTD.
发明人:
KIM, CHOONG HOO | PARK, KYU CHANG | SHIM, MIN SOO
简单同族:
JP2003287732A | JP3840595B2 | KR100500692B1 | KR1020030073568A | TW200304011A | TWI237718B | US20030174870A1 | US20080007507A1 | US7418117 | US8723806
简单同族成员数量:
10
简单同族被引用专利总数:
114
诉讼案件数:
0
法律状态/事件:
授权 | 权利转移