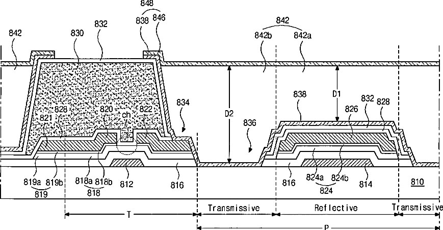
标题:
Transflective liquid crystal display device having color filter-on-thin film transistor (COT) structure and method of fabricating the same
授权日:
2006-11-07
公开(公告)号:
US7133104
申请日:
2004-02-27
公开(公告)日:
2006-11-07
当前申请(专利权)人:
LG DISPLAY CO., LTD.
发明人:
KIM, WOONG-KWON | KIM, SE-JUNE
简单同族:
CN100401153C | CN1525224A | JP2005070736A | JP4108626B2 | KR100945442B1 | KR1020040077161A | US20040179157A1 | US20070064185A1 | US7133104 | US7495728
简单同族成员数量:
10
简单同族被引用专利总数:
107
诉讼案件数:
0
法律状态/事件:
未缴年费 | 权利转移