首页
专利数据库
产业人才
行业动态
产业政策法规
维权援助
个人中心
登录/注册
详情
文本
图像
标题:
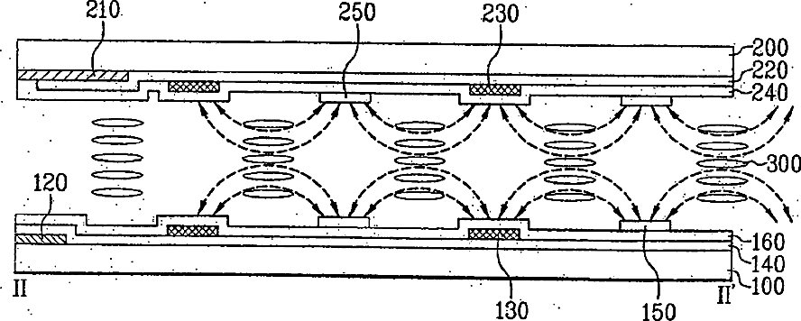
In-plane switching mode liquid crystal display device and method of manufacturing the same
授权日:
1900-01-01
公开(公告)号:
US20040263749A1
申请日:
2004-04-19
公开(公告)日:
2004-12-30
当前申请(专利权)人:
LG DISPLAY CO., LTD.
发明人:
JEONG, WOO NAM | JIN, HYUN SUK
简单同族:
KR100698047B1 | KR1020040091184A | US20040263749A1 | US7113243
简单同族成员数量:
4
简单同族被引用专利总数:
107
诉讼案件数:
0
法律状态/事件:
未缴年费 | 权利转移