标题:
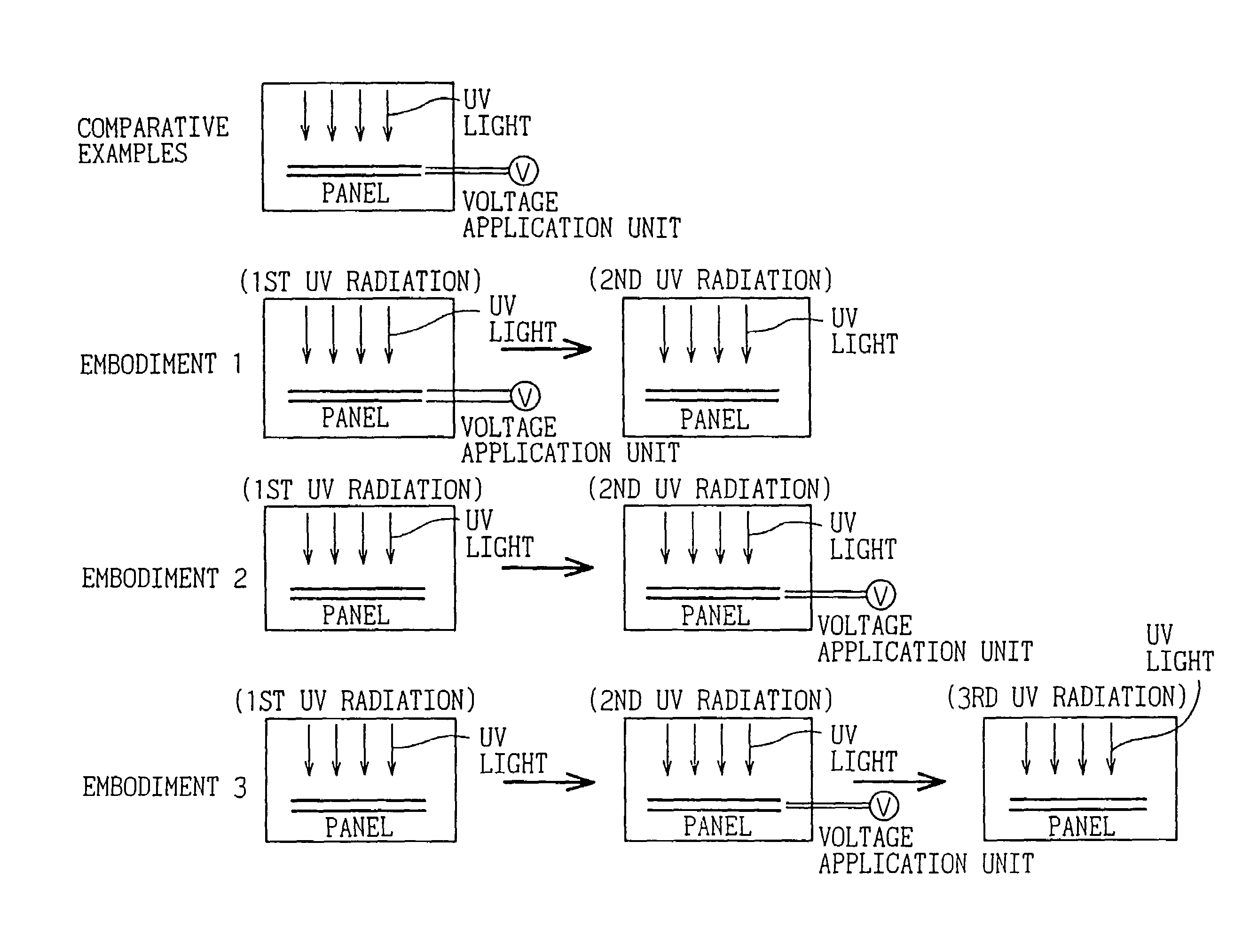
Liquid crystal display device and method of fabricating the same
授权日:
2006-11-14
公开(公告)号:
US7136119
申请日:
2004-07-16
公开(公告)日:
2006-11-14
当前申请(专利权)人:
SHARP KABUSHIKI KAISHA
发明人:
INOUE, HIROYASU | NAGAOKA, KENICHI | NAKAHATA, YUJI | TANIGUCHI, YOJI
简单同族:
US20030095229A1 | US20040169790A1 | US20040174471A1 | US20040246406A1 | US20040263719A1 | US20050018105A1 | US20050024556A1 | US20050030445A1 | US6778229 | US6825892 | US6894741 | US6894742 | US6937300 | US7136119 | US7324175 | US7450206
简单同族成员数量:
16
简单同族被引用专利总数:
179
诉讼案件数:
0
法律状态/事件:
授权 | 权利转移