首页
专利数据库
产业人才
行业动态
产业政策法规
维权援助
个人中心
登录/注册
详情
文本
图像
标题:
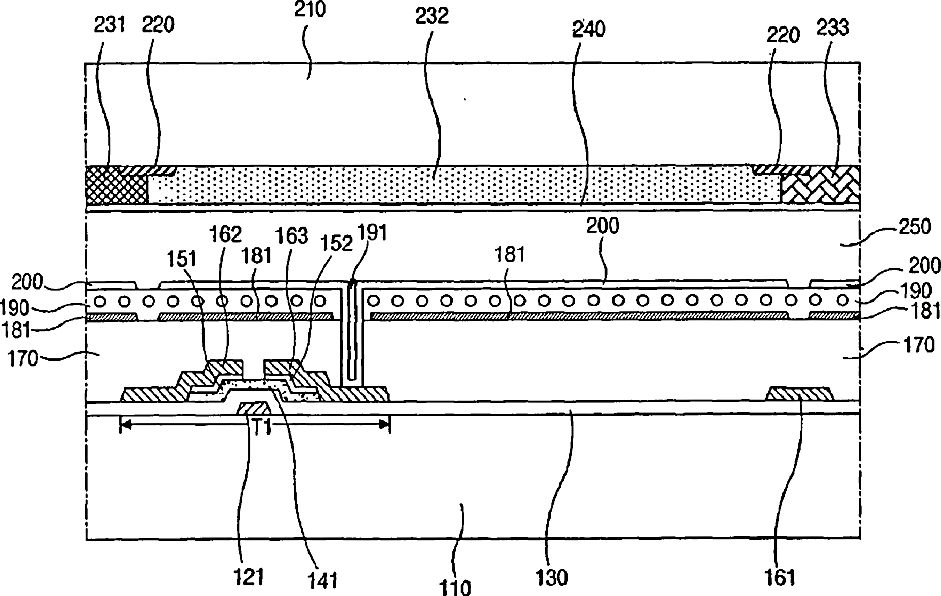
Liquid crystal display device with scattering layer and fabricating method thereof
授权日:
1900-01-01
公开(公告)号:
US20030122980A1
申请日:
2002-09-26
公开(公告)日:
2003-07-03
当前申请(专利权)人:
LG DISPLAY CO., LTD.
发明人:
JIN, HYUN-SUK | KANG, WON-SEOK
简单同族:
KR100959683B1 | KR1020030057206A | US20030122980A1 | US6683667
简单同族成员数量:
4
简单同族被引用专利总数:
57
诉讼案件数:
0
法律状态/事件:
授权 | 权利转移