标题:
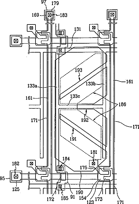
Liquid crystal display and thin film transistor array panel
授权日:
1900-01-01
公开(公告)号:
US20040196427A1
申请日:
2004-04-23
公开(公告)日:
2004-10-07
当前申请(专利权)人:
SAMSUNG DISPLAY CO., LTD.
发明人:
UM, YOON-SUNG | CHOI, NAK-CHO | LYU, JAE-JIN | LEE, JEONG-HO | RHEE, YOUNG-JOON | PARK, MYUNG-JAE | SONG, JANG-KUN
简单同族:
AU2002354321A1 | TW200404186A | TWI289235B | US20030133055A1 | US20040196427A1 | US6940573 | US7019806 | WO2003044595A1
简单同族成员数量:
8
简单同族被引用专利总数:
120
诉讼案件数:
0
法律状态/事件:
授权 | 权利转移