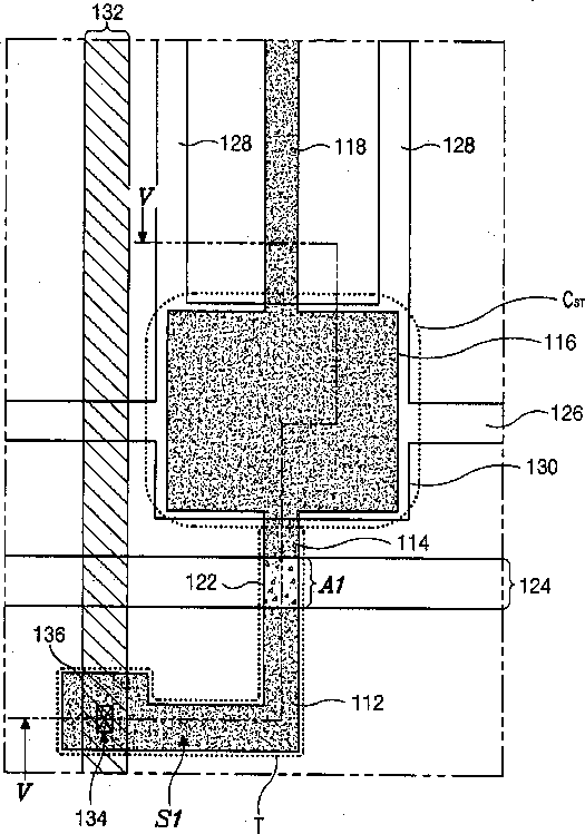
标题:
Array substrate for in-plane switching liquid crystal display device with polycrystalline silicon pixel electrode and method of manufacturing the same
授权日:
1900-01-01
公开(公告)号:
US20070013820A1
申请日:
2006-09-27
公开(公告)日:
2007-01-18
当前申请(专利权)人:
LG DISPLAY CO., LTD.
发明人:
JEOUNG, HUN
简单同族:
KR100930916B1 | KR1020040082796A | US20040183978A1 | US20070013820A1 | US7130010 | US7430034
简单同族成员数量:
6
简单同族被引用专利总数:
77
诉讼案件数:
0
法律状态/事件:
授权 | 权利转移