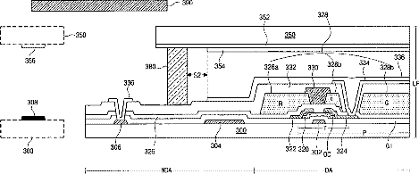
标题:
Color filter on thin film transistor type liquid crystal display device and method of fabricating the same with an alignment key formed with the orientation layer
授权日:
2009-11-03
公开(公告)号:
US7612860
申请日:
2004-11-30
公开(公告)日:
2009-11-03
当前申请(专利权)人:
LG DISPLAY CO., LTD.
发明人:
KIM, WOONG-KWON | KIM, DONG-GUK
简单同族:
CN100380216C | CN1624548A | US20050117093A1 | US20100022156A1 | US7612860 | US7944540
简单同族成员数量:
6
简单同族被引用专利总数:
89
诉讼案件数:
0
法律状态/事件:
授权 | 质押 | 权利转移