首页
专利数据库
产业人才
行业动态
产业政策法规
维权援助
个人中心
登录/注册
详情
文本
图像
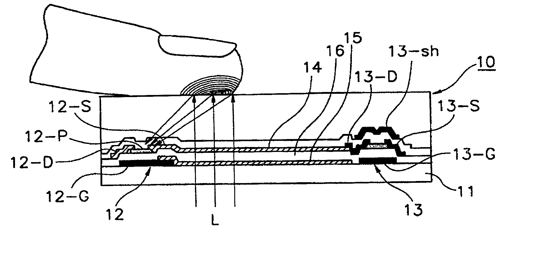
标题:
Liquid crystal display and fingerprint capture panel
授权日:
1900-01-01
公开(公告)号:
US20020163601A1
申请日:
2001-12-10
公开(公告)日:
2002-11-07
当前申请(专利权)人:
SECUGEN CORPORATION
发明人:
MIN, KYOUNG IL | RYU, HAN MIN | LEE, KYOUNG TAI | LEE, DONG WON | SHIN, HO KYUN
简单同族:
KR1020020028754A | US20020163601A1 | WO2002093239A1
简单同族成员数量:
3
简单同族被引用专利总数:
87
诉讼案件数:
0
法律状态/事件:
撤回 | 质押 | 权利转移