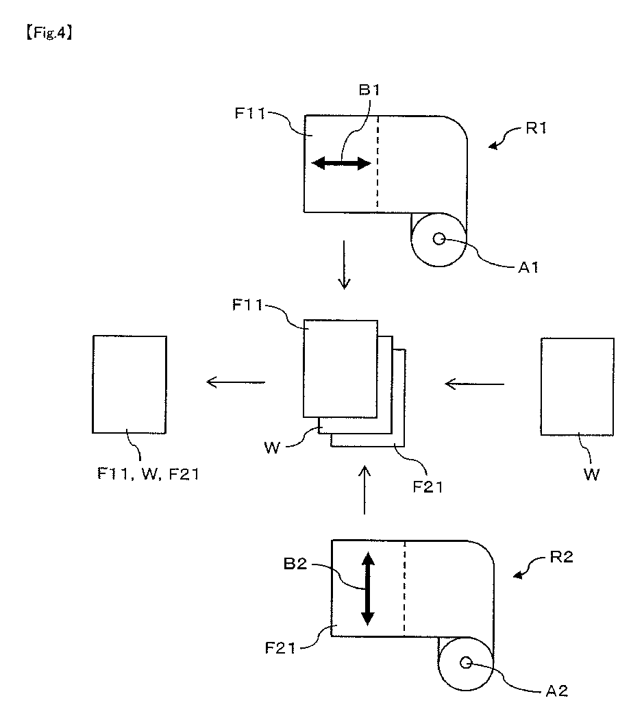
标题:
Optical display device manufacturing system and method for manufacturing optical display device
授权日:
1900-01-01
公开(公告)号:
EP2270770A1
申请日:
2009-04-13
公开(公告)日:
2011-01-05
当前申请(专利权)人:
NITTO DENKO CORPORATION
发明人:
KOSHIO, SATORU | NAKAZONO, TAKUYA | KITADA, KAZUO | YURA, TOMOKAZU | TAKEDA, KENTAROU
简单同族:
CN101978406A | CN101978406B | EP2270770A1 | JP2009276757A | JP2009276757A5 | JP4855493B2 | KR101586101B1 | KR1020110007085A | TW200951580A | TWI459096B | US20110025958A1 | US8427625 | WO2009128416A1
简单同族成员数量:
13
简单同族被引用专利总数:
91
诉讼案件数:
0
法律状态/事件:
撤回