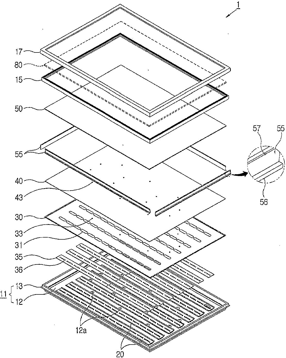
标题:
Backlight unit and LCD display apparatus having the same
授权日:
1900-01-01
公开(公告)号:
EP1815292A4
申请日:
2005-07-19
公开(公告)日:
2009-10-21
当前申请(专利权)人:
SAMSUNG ELECTRONICS CO., LTD.
发明人:
LEE, YOU-SUB | NOH, JI-WHAN | KIM, WON-NYUN
简单同族:
CN100478761C | CN101057176A | EP1815292A1 | EP1815292A4 | KR100609057B1 | KR1020060055579A | US20060104080A1 | US7275852 | WO2006054821A1
简单同族成员数量:
9
简单同族被引用专利总数:
105
诉讼案件数:
0
法律状态/事件:
撤回 | 权利转移