首页
专利数据库
产业人才
行业动态
产业政策法规
维权援助
个人中心
登录/注册
详情
文本
图像
标题:
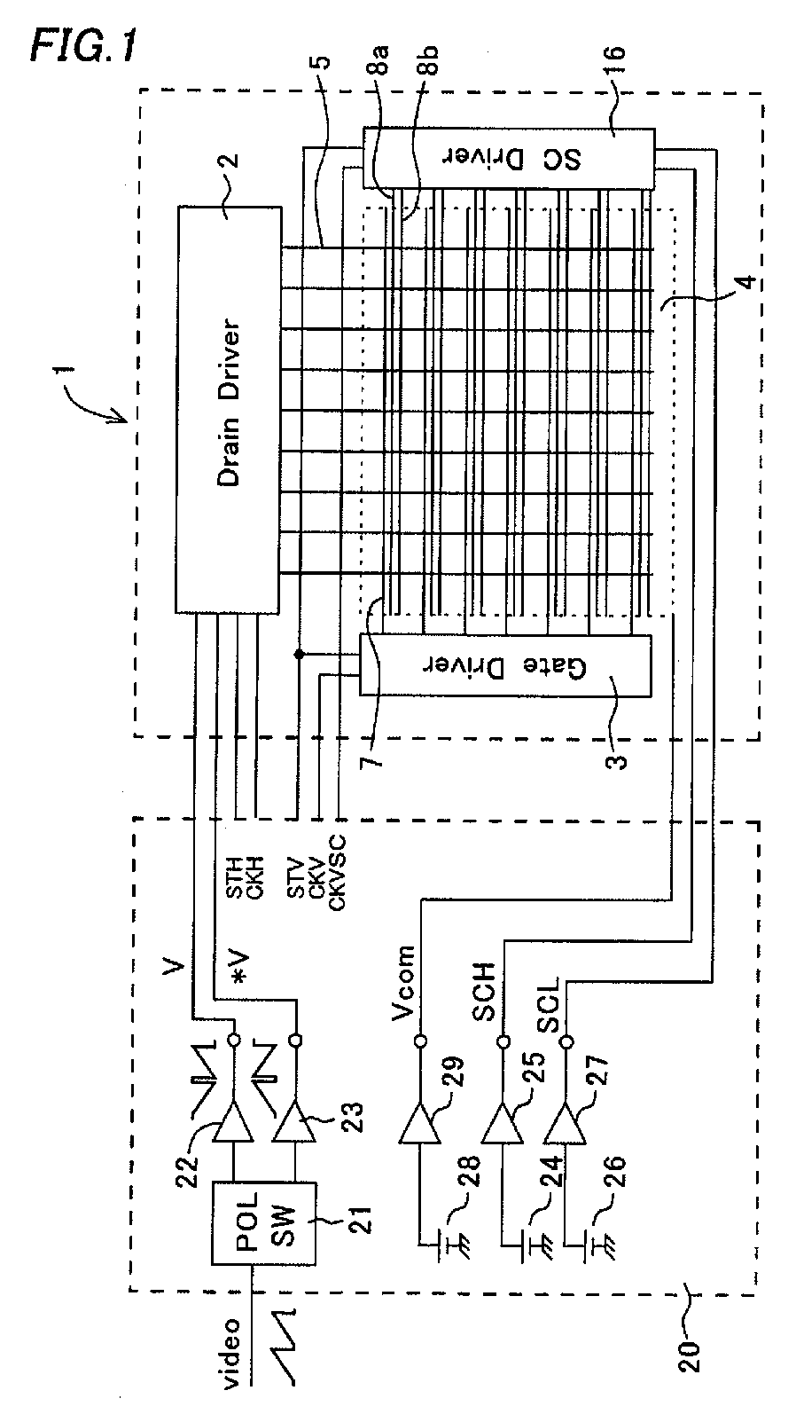
Active matrix liquid crystal display device
授权日:
1900-01-01
公开(公告)号:
EP1717793A1
申请日:
2005-04-27
公开(公告)日:
2006-11-02
当前申请(专利权)人:
SANYO ELECTRIC CO., LTD.
发明人:
KOBAYASHI, MITSUGU | SAIKI, KENJI | MATSUDA, SEIJI
简单同族:
EP1717793A1
简单同族成员数量:
1
简单同族被引用专利总数:
0
诉讼案件数:
0
法律状态/事件:
撤回