标题:
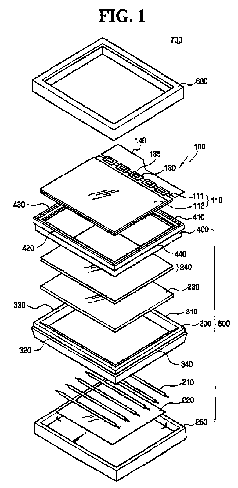
Backlight assembly and liquid crystal display having the same
授权日:
1900-01-01
公开(公告)号:
EP1895354A2
申请日:
2007-07-18
公开(公告)日:
2008-03-05
当前申请(专利权)人:
SAMSUNG DISPLAY CO., LTD.
发明人:
CHANG, WOONG-JAE
简单同族:
CN101109870A | CN101109870B | EP1895354A2 | EP1895354A3 | JP2008027884A | JP5030556B2 | KR101363587B1 | KR1020080008063A | US20080252808A1 | US7920221
简单同族成员数量:
10
简单同族被引用专利总数:
53
诉讼案件数:
0
法律状态/事件:
撤回 | 权利转移