首页
专利数据库
产业人才
行业动态
产业政策法规
维权援助
个人中心
登录/注册
详情
文本
图像
标题:
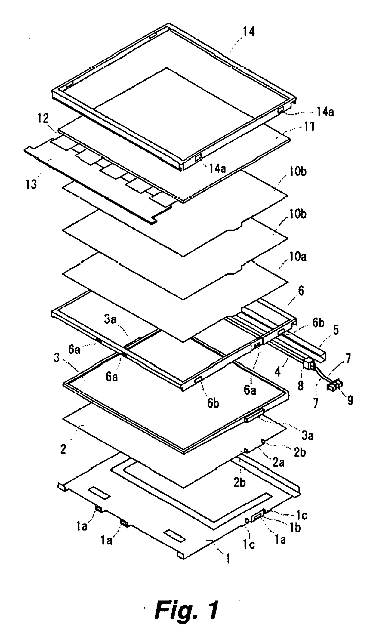
Liquid crystal display module
授权日:
2011-05-25
公开(公告)号:
EP2045653B1
申请日:
2008-10-06
公开(公告)日:
2011-05-25
当前申请(专利权)人:
FUNAI ELECTRIC CO., LTD.
发明人:
TANAKA, MITSURU | SUZUKI, YUTO
简单同族:
EP2045653A1 | EP2045653B1 | JP2009092721A | JP5098549B2 | US20090091688A1 | US7764335
简单同族成员数量:
6
简单同族被引用专利总数:
50
诉讼案件数:
0
法律状态/事件:
权利终止