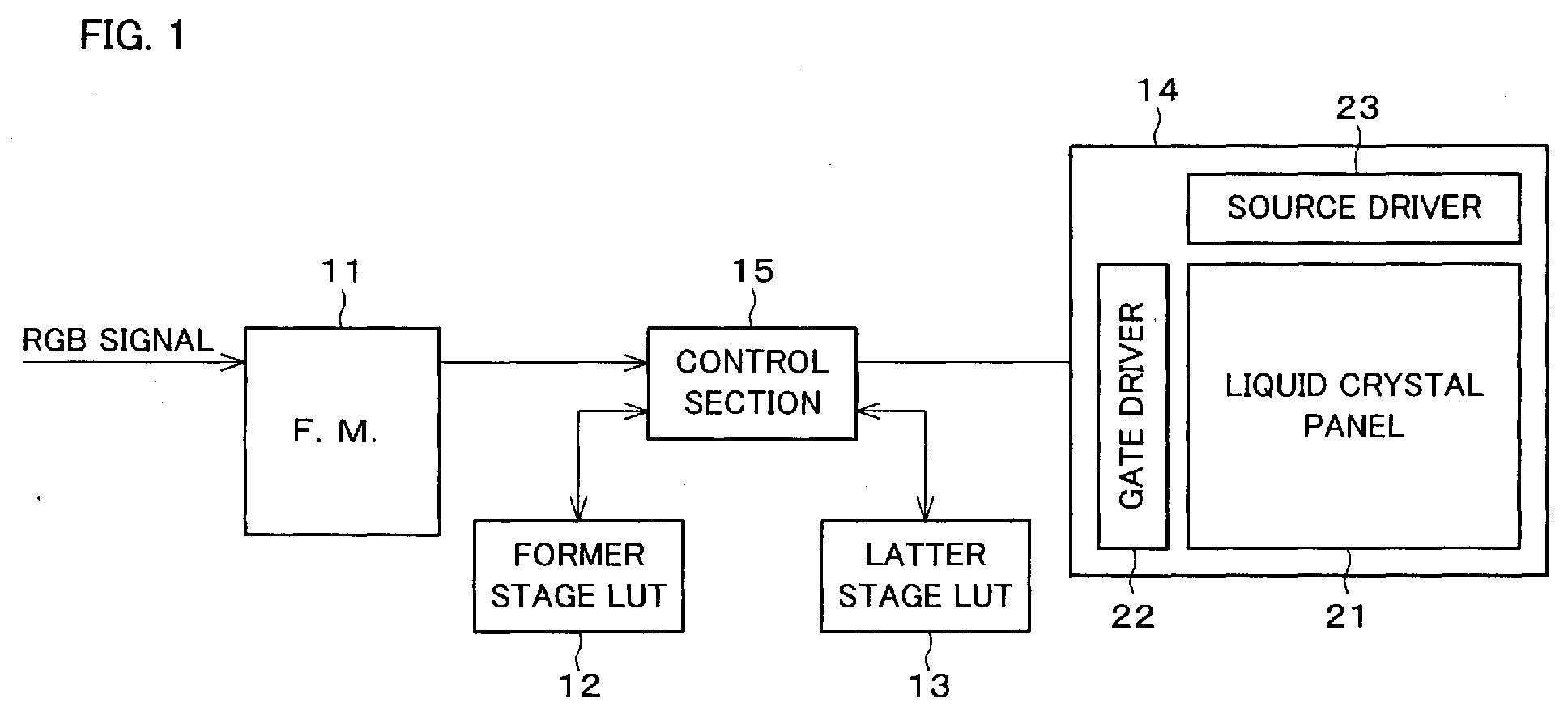
标题:
Display device, liquid crytal monitor, liquid crystal television receiver, and display method
授权日:
1900-01-01
公开(公告)号:
EP1564714A2
申请日:
2005-01-21
公开(公告)日:
2005-08-17
当前申请(专利权)人:
SHARP KABUSHIKI KAISHA
发明人:
MIYATA, HIDEKAZU | ISHIHARA, TOMOYUKI | TOMIZAWA, KAZUNARI
简单同族:
CN100565648C | CN101667410A | CN101667410B | CN1658269A | EP1564714A2 | EP1564714A3 | EP1564714B1 | JP2005234552A | JP4197322B2 | KR100684810B1 | KR100963935B1 | KR101069210B1 | KR1020050076713A | KR1020060084835A | KR1020060088857A | TW200601253A | TWI317119B | US20050184944A1 | US20110157477A1 | US7932915 | US8520036
简单同族成员数量:
21
简单同族被引用专利总数:
160
诉讼案件数:
0
法律状态/事件:
权利终止