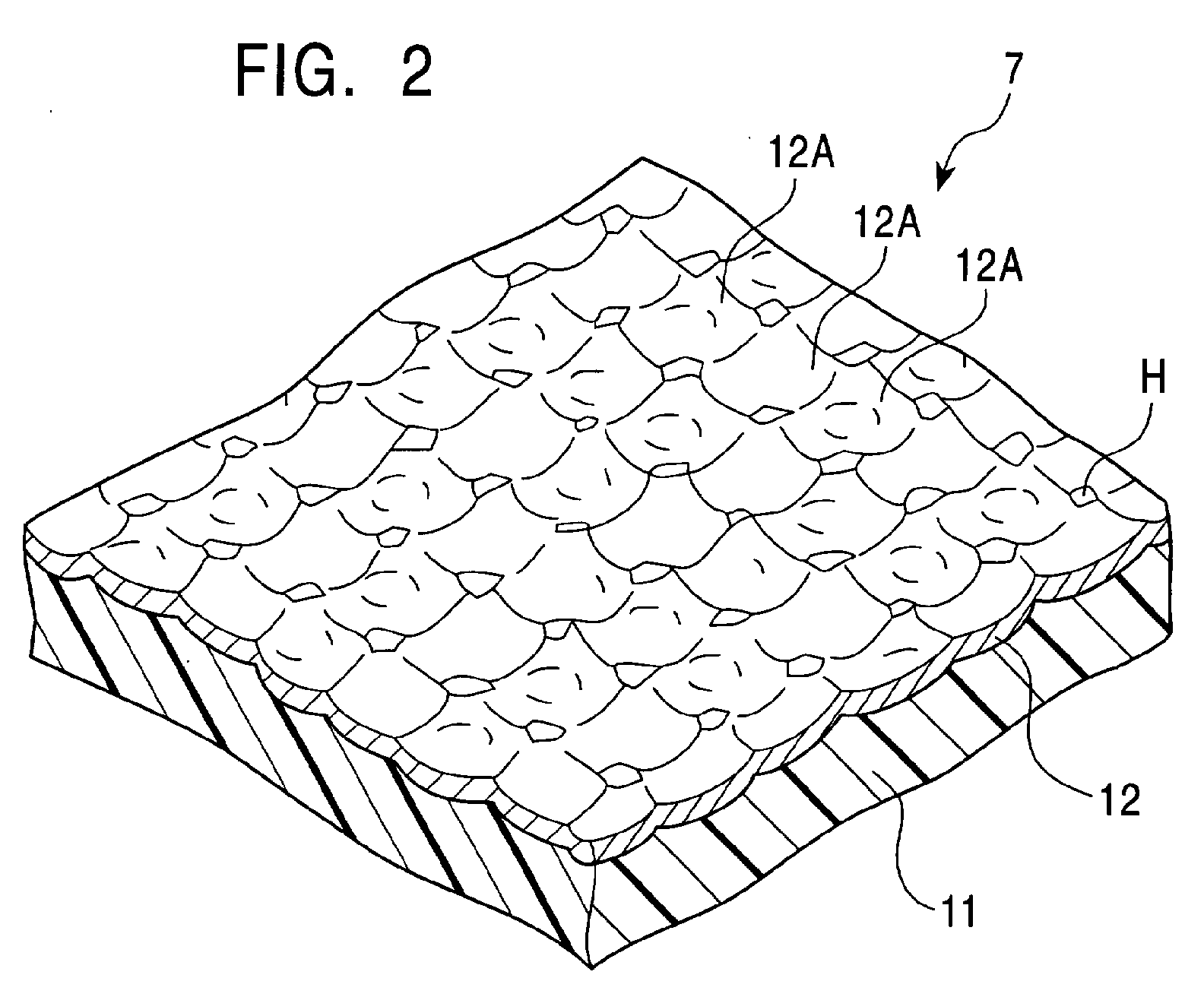
标题:
Liquid crystal display device with improved viewing angle
授权日:
1900-01-01
公开(公告)号:
EP1251390A2
申请日:
2002-03-19
公开(公告)日:
2002-10-23
当前申请(专利权)人:
ALPS ELECTRIC CO., LTD.
发明人:
YOSHII, KATSUMASA, C/O ALPS ELECTRIC CO., LTD. | MORIIKE, TATSUYA, C/O ALPS ELECTRIC CO., LTD. | KANO, MITSURU, C/O ALPS ELECTRIC CO., LTD.
简单同族:
CN100409072C | CN1189777C | CN1381755A | CN1591118A | EP1251390A2 | EP1251390A3 | KR1020020082110A | TW548467B | US20030011730A1 | US20030210368A1 | US6606139 | US6912028
简单同族成员数量:
12
简单同族被引用专利总数:
62
诉讼案件数:
0
法律状态/事件:
撤回