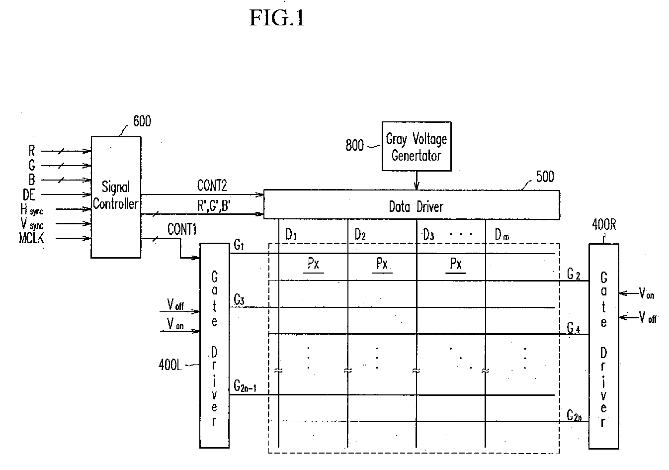
标题:
Display driving device with partitioned gate driving unit and liquid crystal display apparatus and method using the same
授权日:
1900-01-01
公开(公告)号:
EP1492078A3
申请日:
2004-06-23
公开(公告)日:
2006-05-17
当前申请(专利权)人:
SAMSUNG DISPLAY CO., LTD.
发明人:
MOON, SEUNG-HWAN
简单同族:
CN100443960C | CN1573459A | EP1492078A2 | EP1492078A3 | JP2005018066A | KR100945581B1 | KR1020050000105A | TW200509052A | TWI277938B | US20040257322A1 | US20080204390A1 | US20130215097A1 | US7385576 | US8274460
简单同族成员数量:
14
简单同族被引用专利总数:
171
诉讼案件数:
0
法律状态/事件:
驳回 | 权利转移