标题:
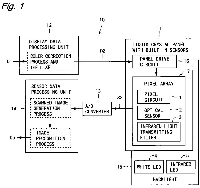
Display device with photosensor
授权日:
1900-01-01
公开(公告)号:
EP2249201A4
申请日:
2009-02-16
公开(公告)日:
2011-08-10
当前申请(专利权)人:
SHARP KABUSHIKI KAISHA
发明人:
FUJIOKA, AKIZUMI | GOTOH, TOSHIMITSU | KUBOTA, AKINORI | UEHATA, MASAKI
简单同族:
BRPI0909099A2 | CN101960372A | CN101960372B | EP2249201A1 | EP2249201A4 | JP5208198B2 | JPWO2009110294A1 | RU2010140395A | RU2456660C2 | US20110007047A1 | US8416227 | WO2009110294A1
简单同族成员数量:
12
简单同族被引用专利总数:
97
诉讼案件数:
0
法律状态/事件:
撤回