首页
专利数据库
产业人才
行业动态
产业政策法规
维权援助
个人中心
登录/注册
详情
文本
图像
标题:
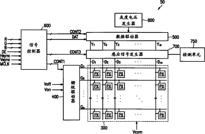
液晶显示装置及其驱动方法
授权日:
1900-01-01
公开(公告)号:
CN101089687A
申请日:
2007-06-13
公开(公告)日:
2007-12-19
当前申请(专利权)人:
三星显示有限公司
发明人:
李起赞
简单同族:
CN101089687A | CN101089687B | JP2007334358A | JP5232949B2 | KR101251999B1 | KR1020070118797A | US20070285365A1
简单同族成员数量:
7
简单同族被引用专利总数:
116
诉讼案件数:
0
法律状态/事件:
授权 | 权利转移