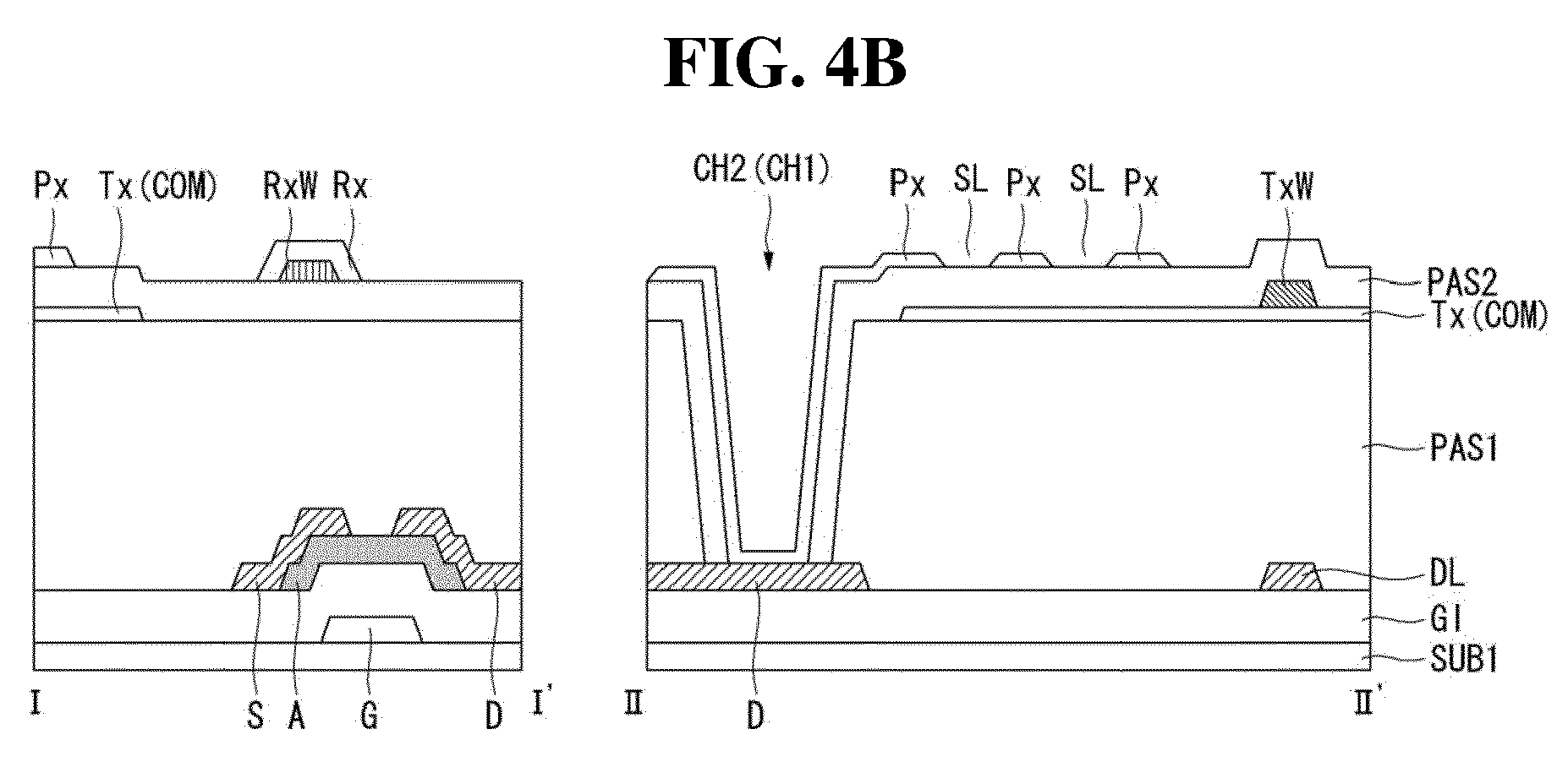
标题:
Touch sensor integrated type display device and method of manufacturing the same
授权日:
1900-01-01
公开(公告)号:
EP2743752A1
申请日:
2013-08-29
公开(公告)日:
2014-06-18
当前申请(专利权)人:
LG DISPLAY CO., LTD.
发明人:
KIM, CHEOLSE | KIM, JUHAN | KIM, HOONBAE | HAN, SUNGSU | KIM, JINSEONG | HAN, MANHYEOP
简单同族:
CN103870056A | CN103870056B | EP2743752A1 | EP2743752B1 | JP2014115613A | JP2015172788A | JP5848295B2 | JP6321582B2 | KR101318448B1 | US20140160066A1 | US9535523
简单同族成员数量:
11
简单同族被引用专利总数:
98
诉讼案件数:
0
法律状态/事件:
授权