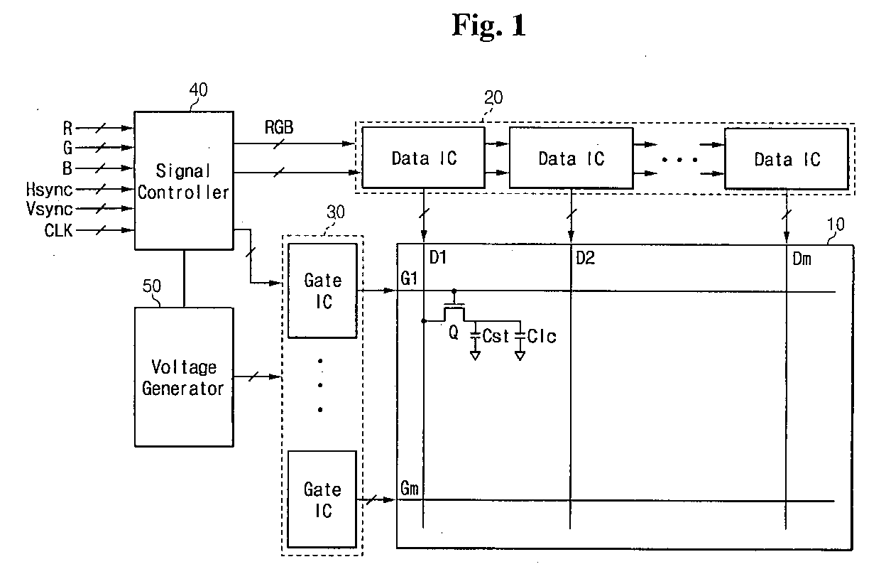
标题:
Liquid crystal display and driving method thereof
授权日:
1900-01-01
公开(公告)号:
EP1414013A3
申请日:
2003-10-21
公开(公告)日:
2005-10-26
当前申请(专利权)人:
SAMSUNG ELECTRONICS CO., LTD.
发明人:
PARK, JHEEN-HYEOK | KANG, SIN-GU | KANG, NAM-SOO | KIM, JI-HOON | HWANG, IN-YONG | SON, SUN-KYU | LEE, GYU-SU
简单同族:
CN100543523C | CN1510466A | EP1414013A2 | EP1414013A3 | JP2004145340A | JP4982028B2 | KR100900539B1 | KR1020040034113A | TW200414096A | TWI359401B | US20040135757A1 | US7289095
简单同族成员数量:
12
简单同族被引用专利总数:
75
诉讼案件数:
0
法律状态/事件:
驳回 | 权利转移