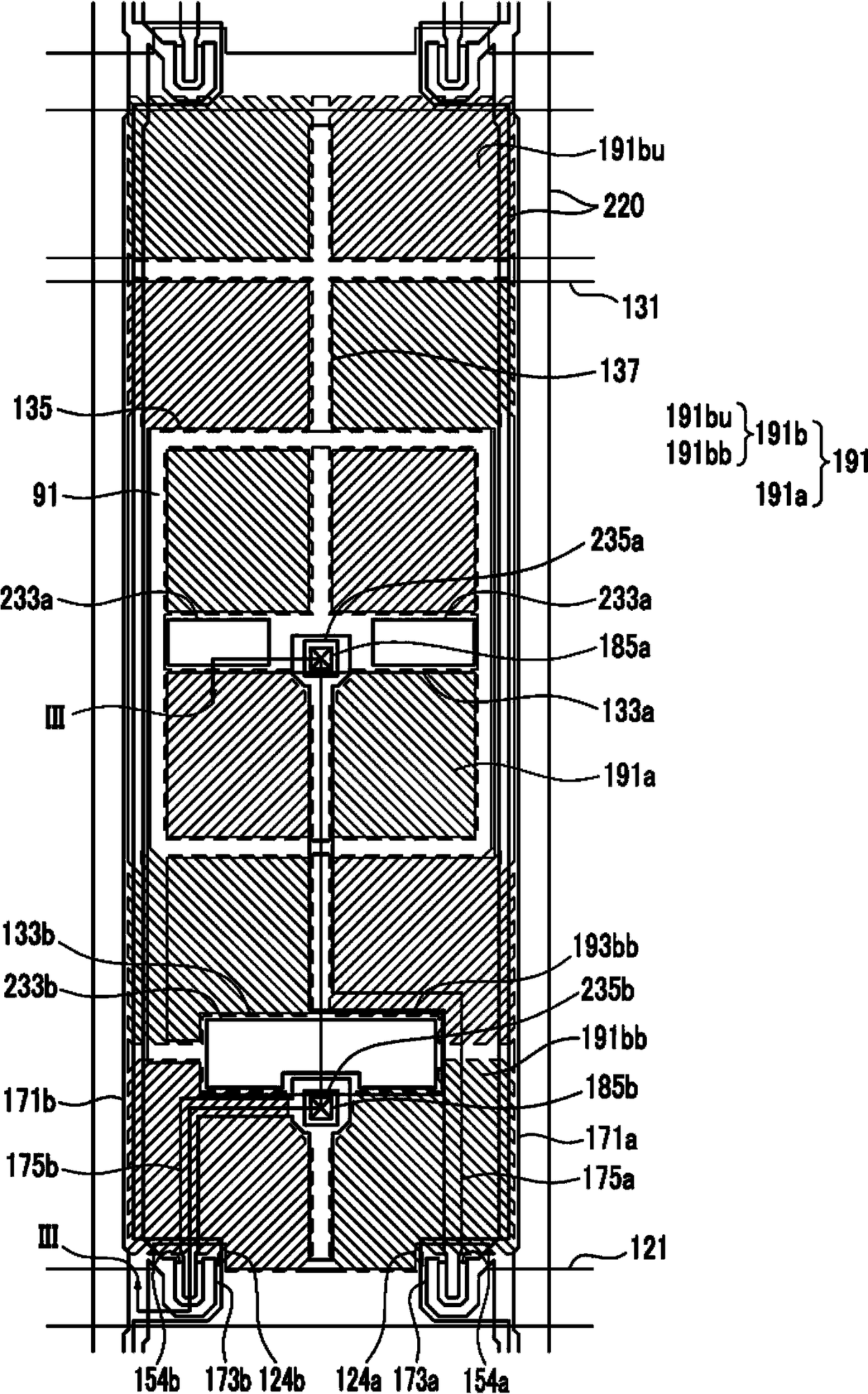
标题:
液晶显示器
授权日:
2015-06-24
公开(公告)号:
CN102692775B
申请日:
2009-03-27
公开(公告)日:
2015-06-24
当前申请(专利权)人:
三星显示有限公司
发明人:
郑美惠 | 孙智媛 | 柳在镇 | 蔡钟哲
简单同族:
CN101546073A | CN101546073B | CN102692775A | CN102692775B | EP2105786A1 | EP2105786B1 | KR1020090103461A | US20090244425A1 | US20110317119A1 | US20120314174A1 | US20130265517A1 | US20140063395A1 | US20150062516A1 | US20160246137A1 | US20180004049A1 | US8035787 | US8253908 | US8462305 | US8610866 | US8909020 | US9360717 | US9759962
简单同族成员数量:
22
简单同族被引用专利总数:
127
诉讼案件数:
0
法律状态/事件:
授权 | 权利转移