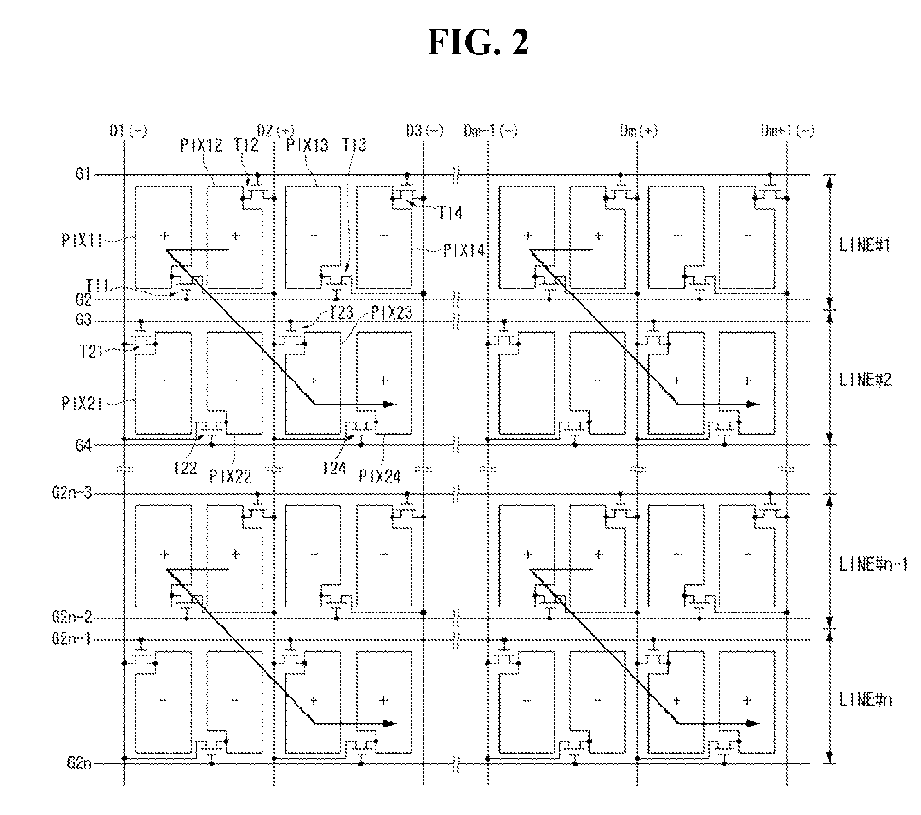
标题:
Liquid crystal display
授权日:
1900-01-01
公开(公告)号:
EP2355086A1
申请日:
2010-11-11
公开(公告)日:
2011-08-10
当前申请(专利权)人:
LG DISPLAY CO., LTD.
发明人:
NAM, YOUSUNG | YUN, SAICHANG | PARK, JUNEHO | LEE, CHANGDEOK | HEO, SEUNGHO | OH, DAESEOK
简单同族:
CN102087842A | CN102087842B | CN103065596A | CN103065596B | EP2355086A1 | EP2458582A1 | JP2011118398A | JP5302292B2 | KR101604140B1 | KR1020110062619A | TW201120866A | TWI444979B | US20110134103A1 | US8773419
简单同族成员数量:
14
简单同族被引用专利总数:
57
诉讼案件数:
0
法律状态/事件:
驳回