标题:
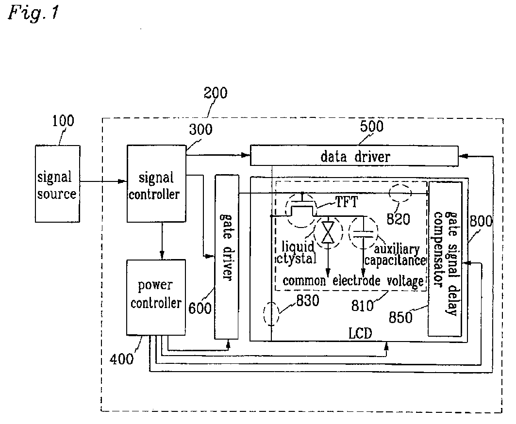
Gate signal delay compensating lcd and driving method thereof
授权日:
1900-01-01
公开(公告)号:
EP1223571A3
申请日:
2001-11-05
公开(公告)日:
2006-05-03
当前申请(专利权)人:
SAMSUNG DISPLAY CO., LTD.
发明人:
PARK, HAENG-WON | LEE, JUNG-HEE
简单同族:
CN100369098C | CN1363919A | EP1223571A2 | EP1223571A3 | JP2002236280A | JP4790926B2 | KR100796787B1 | KR1020020057408A | TWI240236B | US20020084968A1 | US7133034
简单同族成员数量:
11
简单同族被引用专利总数:
86
诉讼案件数:
0
法律状态/事件:
驳回 | 权利转移