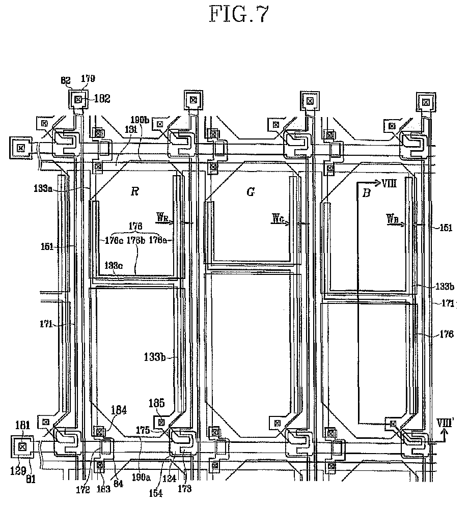
标题:
Thin film transistor array panel and liquid crystal display
授权日:
1900-01-01
公开(公告)号:
EP1860489A1
申请日:
2005-08-02
公开(公告)日:
2007-11-28
当前申请(专利权)人:
SAMSUNG ELECTRONICS CO., LTD.
发明人:
UM, YOON-SUNG | SON, JONG-HO | CHUNG, DONG-HOON | LEE, JUN-WOO | SHIN, YONG-HWAN | LYU, JAE-JIN | CHANG, HAK-SUN | KIM, HYUN-WUK | LEE, CHANG-HUN
简单同族:
AT395629T | DE602005006677D1 | EP1624332A1 | EP1624332B1 | EP1860489A1 | JP2006048055A | JP2006048055A5 | TW200620675A | US20060028589A1 | US7499129
简单同族成员数量:
10
简单同族被引用专利总数:
74
诉讼案件数:
0
法律状态/事件:
撤回