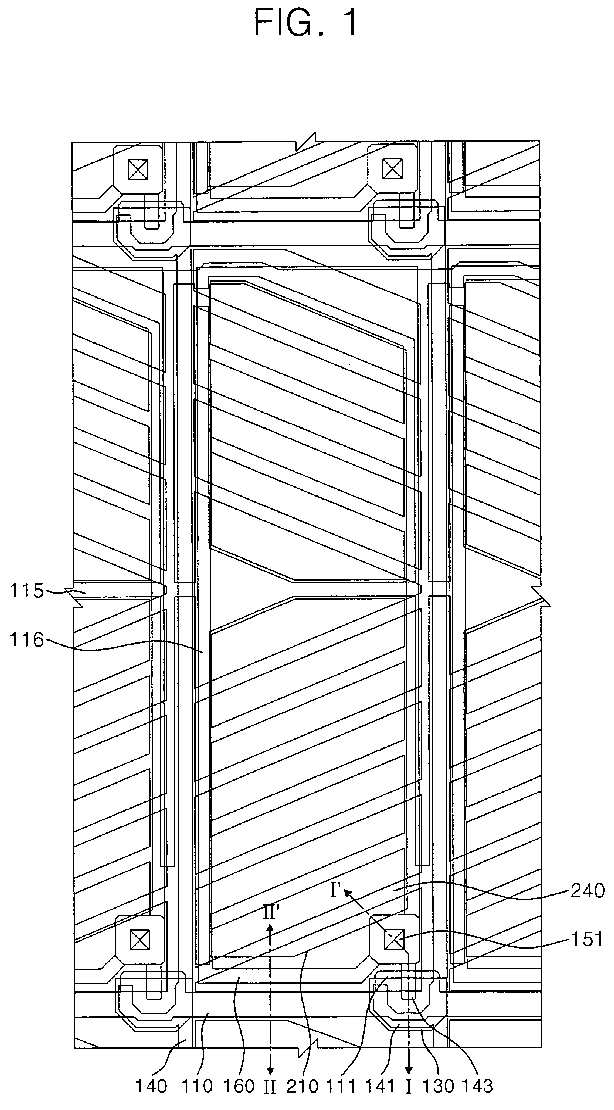
标题:
Liquid crystal display panel
授权日:
1900-01-01
公开(公告)号:
EP1953589A3
申请日:
2008-01-31
公开(公告)日:
2010-06-02
当前申请(专利权)人:
SAMSUNG DISPLAY CO., LTD.
发明人:
KWON, JI-HYUN | LEE, HYEOK-JIN | NA, BYOUNG-SUN | GANG, LUJIAN | KI, DONG-HYEON | WOO, HWA-SUNG
简单同族:
CN101236339A | CN101236339B | EP1953589A2 | EP1953589A3 | EP1953589B1 | JP2008191664A | JP2008191664A5 | JP5475955B2 | KR101427708B1 | KR1020080072173A | US20080186439A1 | US8610863
简单同族成员数量:
12
简单同族被引用专利总数:
121
诉讼案件数:
0
法律状态/事件:
授权 | 权利转移