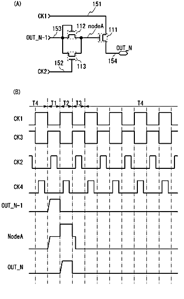
标题:
液晶表示装置
授权日:
1900-01-01
公开(公告)号:
JP2010250303A
申请日:
2010-03-25
公开(公告)日:
2010-11-04
当前申请(专利权)人:
株式会社半導体エネルギー研究所
发明人:
梅崎 敦司
简单同族:
CN101847387A | CN101847387B | JP2010250303A | JP2010250303A5 | JP2015165321A | JP2016219845A | JP2016219845A5 | JP2018049297A | JP2019148824A | JP6007285B2 | JP6263588B2 | KR101752640B1 | KR101954073B1 | KR1020100108231A | KR1020170070859A | KR1020190021297A | KR1020200018798A | KR102081660B1 | US10026848 | US10181530 | US10297693 | US10714630 | US20100245304A1 | US20130334527A1 | US20160276490A1 | US20180323304A1 | US20190148559A1 | US20190312146A1 | US8519929 | US9362412
简单同族成员数量:
30
简单同族被引用专利总数:
57
诉讼案件数:
0
法律状态/事件:
撤回