首页
专利数据库
产业人才
行业动态
产业政策法规
维权援助
个人中心
登录/注册
详情
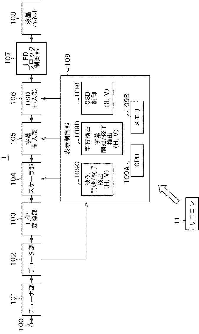
文本
图像
标题:
映像表示装置
授权日:
1900-01-01
公开(公告)号:
JP2011242685A
申请日:
2010-05-20
公开(公告)日:
2011-12-01
当前申请(专利权)人:
日立コンシューマエレクトロニクス株式会社
发明人:
木村 勝信 | 益岡 信夫
简单同族:
CN102256072A | JP2011242685A | US20110285764A1
简单同族成员数量:
3
简单同族被引用专利总数:
101
诉讼案件数:
0
法律状态/事件:
驳回