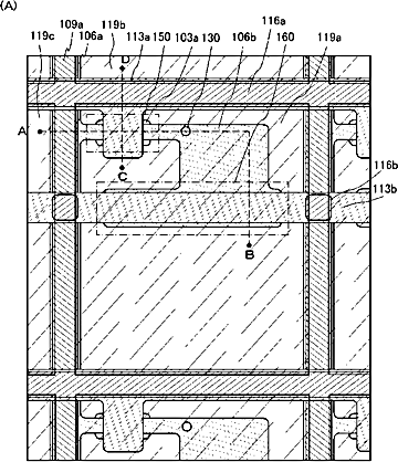
标题:
透過型の液晶表示装置
授权日:
1900-01-01
公开(公告)号:
JP2015043088A
申请日:
2014-09-05
公开(公告)日:
2015-03-05
当前申请(专利权)人:
株式会社半導体エネルギー研究所
发明人:
木村 肇
简单同族:
CN101826521A | CN101826521B | CN105957813A | CN105957813B | JP2010232651A | JP2010232651A5 | JP2015043088A | JP2016219840A | JP2018082187A | JP2018142730A | JP2018151634A | JP2020010060A | JP6262305B2 | JP6311064B1 | JP6345896B1 | JP6594482B2 | KR101708467B1 | KR101835417B1 | KR101948708B1 | KR102008382B1 | KR1020100100659A | KR1020170019401A | KR1020180025316A | KR1020190016528A | KR1020190092360A | KR1020200006613A | KR102068152B1 | TW201044595A | TWI613825B | US20100224878A1 | US20200219988A1
简单同族成员数量:
31
简单同族被引用专利总数:
129
诉讼案件数:
0
法律状态/事件:
撤回