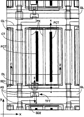
标题:
液晶显示装置
授权日:
1900-01-01
公开(公告)号:
CN1680845A
申请日:
2000-09-11
公开(公告)日:
2005-10-12
当前申请(专利权)人:
株式会社日本显示器
发明人:
小野记久雄 | 米谷慎 | 山本恒典 | 平方纯一 | 仲吉良彰
简单同族:
CN100363794C | CN1208671C | CN1289067A | CN1680845A | CN1873490A | EP1087255A2 | EP1087255A3 | EP1087255B1 | EP2372443A1 | EP2372443B1 | JP2001091972A | JP3712899B2 | KR100373667B1 | KR1020010030357A | TWI228199B | US6356331
简单同族成员数量:
16
简单同族被引用专利总数:
108
诉讼案件数:
0
法律状态/事件:
授权 | 许可 | 权利转移