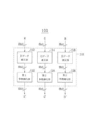
标题:
色補正機能を有する液晶表示装置並びにその駆動装置及び駆動方法
授权日:
1900-01-01
公开(公告)号:
JP2009230157A
申请日:
2009-07-09
公开(公告)日:
2009-10-08
当前申请(专利权)人:
三星電子株式会社
发明人:
李 昇 祐 | 金 鍾 宣 | 權 秀 現
简单同族:
CN1290074C | CN1395229A | JP2003029724A | JP2009064031A | JP2009230157A | JP4923021B2 | JP4929315B2 | KR100750929B1 | KR1020030005748A | TWI288856B | US20030016199A1 | US20060007089A1 | US20100309234A1 | US7030846 | US7746304 | US8823618 | WO2003007287A1
简单同族成员数量:
17
简单同族被引用专利总数:
155
诉讼案件数:
0
法律状态/事件:
未缴年费 | 权利转移