首页
专利数据库
产业人才
行业动态
产业政策法规
维权援助
个人中心
登录/注册
详情
文本
图像
标题:
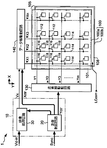
映像処理回路、その処理方法、液晶表示装置および電子機器
授权日:
1900-01-01
公开(公告)号:
JP2011053390A
申请日:
2009-09-01
公开(公告)日:
2011-03-17
当前申请(专利权)人:
セイコーエプソン株式会社
发明人:
飯坂 英仁 | 保坂 宏行
简单同族:
CN102005193A | CN102005193B | CN104409061A | CN104409061B | EP2293280A1 | EP2293280B1 | JP2011053390A | JP5229162B2 | KR101627870B1 | KR1020110025111A | TW201117185A | TWI539426B | US20110051006A1 | US8508455
简单同族成员数量:
14
简单同族被引用专利总数:
59
诉讼案件数:
0
法律状态/事件:
授权 | 权利转移