首页
专利数据库
产业人才
行业动态
产业政策法规
维权援助
个人中心
登录/注册
详情
文本
图像
标题:
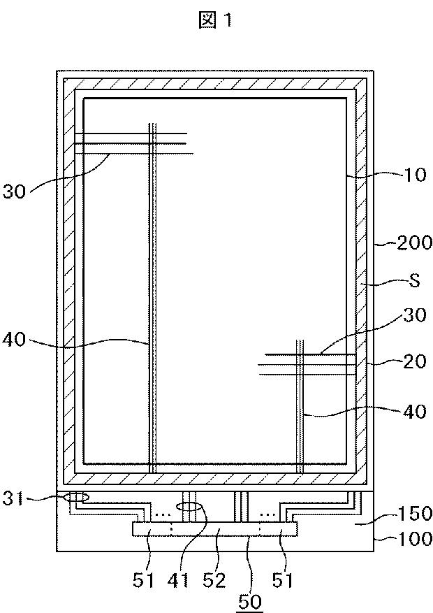
液晶表示装置
授权日:
2013-08-09
公开(公告)号:
JP5335628B2
申请日:
2009-09-09
公开(公告)日:
2013-11-06
当前申请(专利权)人:
株式会社ジャパンディスプレイ | パナソニック液晶ディスプレイ株式会社
发明人:
石垣 利昌 | 高橋 文雄
简单同族:
JP2011059314A | JP5335628B2 | US20110058133A1 | US8830429
简单同族成员数量:
4
简单同族被引用专利总数:
79
诉讼案件数:
0
法律状态/事件:
授权 | 权利转移