首页
专利数据库
产业人才
行业动态
产业政策法规
维权援助
个人中心
登录/注册
详情
文本
图像
标题:
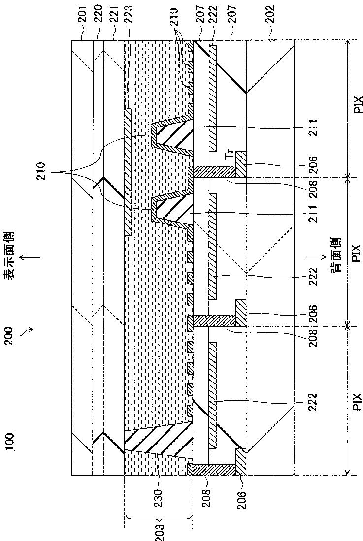
液晶表示装置
授权日:
1900-01-01
公开(公告)号:
JP2010175595A
申请日:
2009-01-27
公开(公告)日:
2010-08-12
当前申请(专利权)人:
ソニー株式会社
发明人:
水橋 比呂志 | 山内 木綿子 | 小糸 健夫 | 田中 勉 | 林 宗治 | 中西 貴之 | 仲島 義晴
简单同族:
CN101788734A | CN101788734B | JP2010175595A | JP4893759B2 | KR1020100087660A | TW201042318A | TWI412823B | US20100188347A1 | US8508484
简单同族成员数量:
9
简单同族被引用专利总数:
56
诉讼案件数:
0
法律状态/事件:
未缴年费 | 权利转移