首页
专利数据库
产业人才
行业动态
产业政策法规
维权援助
个人中心
登录/注册
详情
文本
图像
标题:
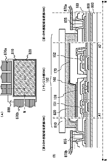
発光表示装置及び発光表示装置の作製方法
授权日:
1900-01-01
公开(公告)号:
JP2012083733A
申请日:
2011-09-12
公开(公告)日:
2012-04-26
当前申请(专利权)人:
株式会社半導体エネルギー研究所
发明人:
山崎 舜平 | 波多野 薫
简单同族:
CN102403333A | CN102403333B | JP2012083733A | JP2012083733A5 | JP5820204B2 | US20120061664A1 | US20140151674A1 | US8647919 | US8912544
简单同族成员数量:
9
简单同族被引用专利总数:
91
诉讼案件数:
0
法律状态/事件:
授权