标题:
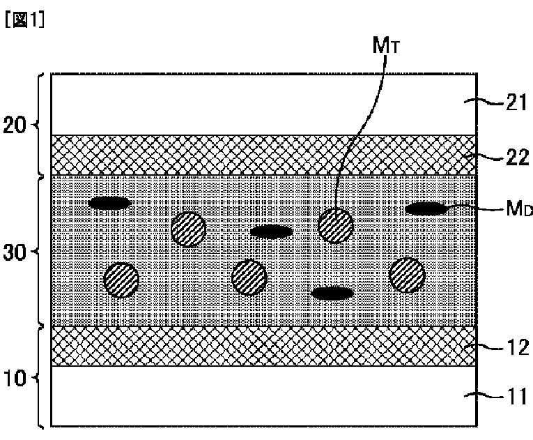
液晶表示装置、液晶表示装置の製造方法、重合体層形成用組成物、及び、液晶層形成用組成物
授权日:
1900-01-01
公开(公告)号:
JPWO2010116551A1
申请日:
2009-10-08
公开(公告)日:
2012-10-18
当前申请(专利权)人:
シャープ株式会社
发明人:
水▲崎▼ 真伸 | 片山 崇 | 川平 雄一 | 野間 健史 | 仲西 洋平
简单同族:
BRPI0924829A2 | CN102356350A | CN102356350B | EP2416211A1 | EP2416211A4 | EP2416211B1 | JP5237439B2 | JPWO2010116551A1 | RU2011143816A | US20120008079A1 | US8647724 | WO2010116551A1
简单同族成员数量:
12
简单同族被引用专利总数:
68
诉讼案件数:
0
法律状态/事件:
授权