标题:
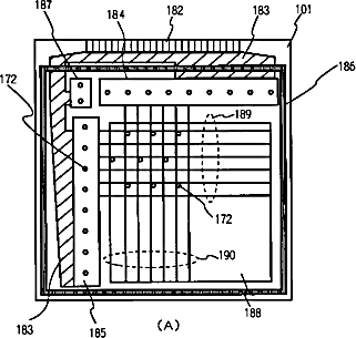
表示装置
授权日:
1900-01-01
公开(公告)号:
JP2015096952A
申请日:
2014-11-12
公开(公告)日:
2015-05-21
当前申请(专利权)人:
株式会社半導体エネルギー研究所
发明人:
山崎 舜平
简单同族:
CN101241886A | CN101241886B | CN102339812A | CN102339812B | CN1282106A | CN1282106B | JP2001093598A | JP2001093598A5 | JP2011043833A | JP2012256050A | JP2013243372A | JP2013243372A5 | JP2014089456A | JP2015096952A | JP2017040929A | JP2019109545A | JP2019139248A | JP4627843B2 | JP5138013B2 | JP5386614B2 | JP5487352B2 | JP5712273B2 | JP6650853B2 | KR100790525B1 | KR1020010015419A | US20090045403A1 | US20100072495A1 | US20110169003A1 | US20120268670A1 | US20130135239A1 | US7411211 | US7626202 | US7956359 | US8258515 | US8368076 | US8624253
简单同族成员数量:
36
简单同族被引用专利总数:
134
诉讼案件数:
0
法律状态/事件:
撤回