首页
专利数据库
产业人才
行业动态
产业政策法规
维权援助
个人中心
登录/注册
详情
文本
图像
标题:
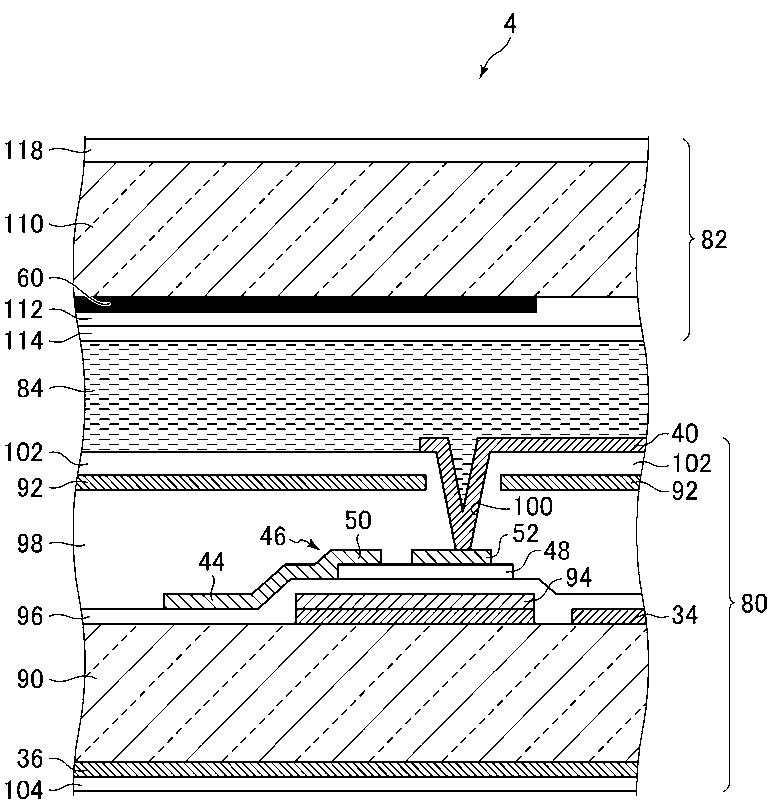
液晶表示装置
授权日:
1900-01-01
公开(公告)号:
JP2013246289A
申请日:
2012-05-25
公开(公告)日:
2013-12-09
当前申请(专利权)人:
パナソニック液晶ディスプレイ株式会社
发明人:
喜田 和夫
简单同族:
JP2013246289A | US20150022501A1 | US9524068 | WO2013175726A1
简单同族成员数量:
4
简单同族被引用专利总数:
57
诉讼案件数:
0
法律状态/事件:
撤回