首页
专利数据库
产业人才
行业动态
产业政策法规
维权援助
个人中心
登录/注册
详情
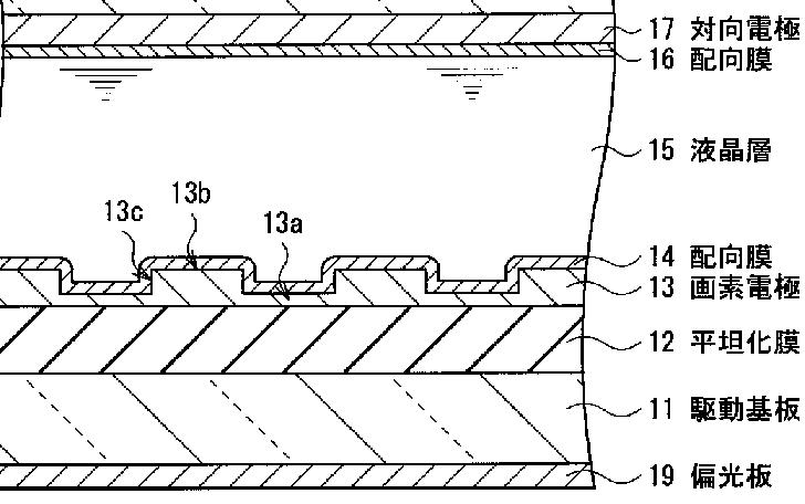
文本
图像
标题:
液晶表示装置、液晶表示装置の製造方法
授权日:
1900-01-01
公开(公告)号:
JP2011232736A
申请日:
2011-02-24
公开(公告)日:
2011-11-17
当前申请(专利权)人:
ソニー株式会社
发明人:
仲村 真彦 | 諏訪 俊一 | 宮川 幹司 | 磯崎 忠昭 | 長瀬 洋二 | 井ノ上 雄一
简单同族:
JP2011232736A | JP5906571B2 | TW201142445A | TWI497177B | US20110317104A1 | US20150198836A1 | US9146422 | US9507208
简单同族成员数量:
8
简单同族被引用专利总数:
49
诉讼案件数:
0
法律状态/事件:
授权