首页
专利数据库
产业人才
行业动态
产业政策法规
维权援助
个人中心
登录/注册
详情
文本
图像
标题:
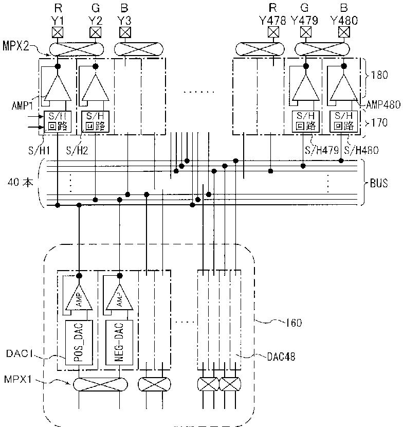
液晶表示駆動装置、液晶表示システムおよび液晶駆動用半導体集積回路装置
授权日:
1900-01-01
公开(公告)号:
JP2011170376A
申请日:
2011-04-15
公开(公告)日:
2011-09-01
当前申请(专利权)人:
ルネサスエレクトロニクス株式会社 | 株式会社ルネサス北日本セミコンダクタ
发明人:
山口 聡 | 遠藤 祐弘 | 久保 健彦
简单同族:
JP2011170376A
简单同族成员数量:
1
简单同族被引用专利总数:
0
诉讼案件数:
0
法律状态/事件:
驳回