首页
专利数据库
产业人才
行业动态
产业政策法规
维权援助
个人中心
登录/注册
详情
文本
图像
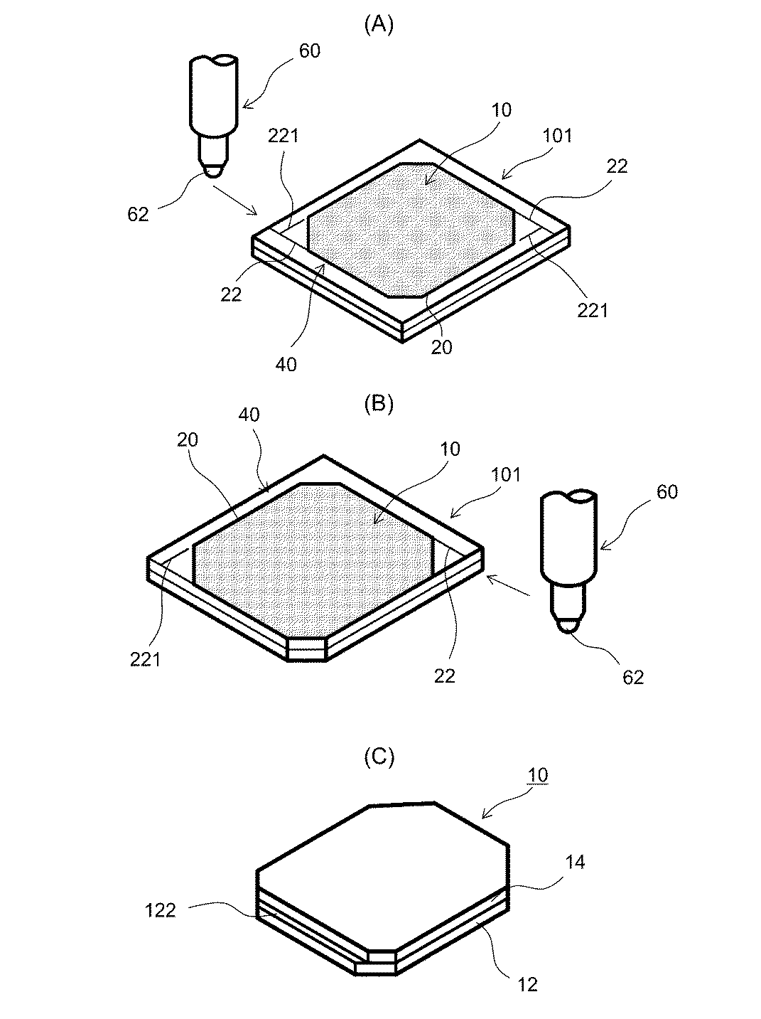
标题:
液晶パネル製造方法
授权日:
1900-01-01
公开(公告)号:
JP2019095570A
申请日:
2017-11-22
公开(公告)日:
2019-06-20
当前申请(专利权)人:
株式会社NSC
发明人:
長尾 卓也 | 岩崎 英生 | 柏原 康宏
简单同族:
JP2019095570A
简单同族成员数量:
1
简单同族被引用专利总数:
0
诉讼案件数:
0
法律状态/事件:
公开