首页
专利数据库
产业人才
行业动态
产业政策法规
维权援助
个人中心
登录/注册
详情
文本
图像
标题:
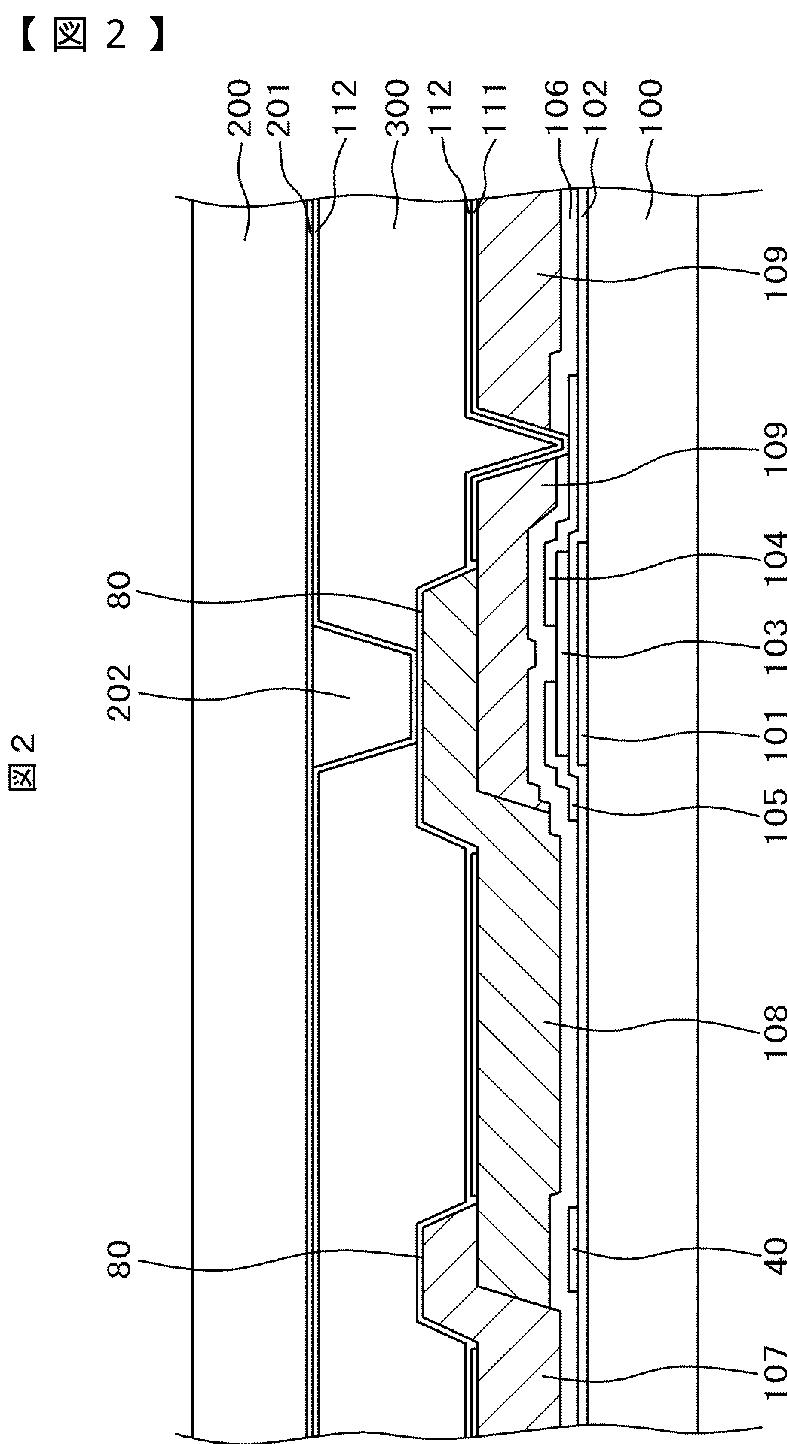
液晶表示装置
授权日:
2014-06-06
公开(公告)号:
JP5553531B2
申请日:
2009-06-03
公开(公告)日:
2014-07-16
当前申请(专利权)人:
株式会社ジャパンディスプレイ | パナソニック液晶ディスプレイ株式会社
发明人:
後藤 順
简单同族:
JP2010281925A | JP5553531B2 | US20100309416A1 | US20120287383A1 | US20130203313A1 | US20140354925A1 | US8233119 | US8421964 | US8823906 | US9036116
简单同族成员数量:
10
简单同族被引用专利总数:
76
诉讼案件数:
0
法律状态/事件:
授权 | 权利转移