首页
专利数据库
产业人才
行业动态
产业政策法规
维权援助
个人中心
登录/注册
详情
文本
图像
标题:
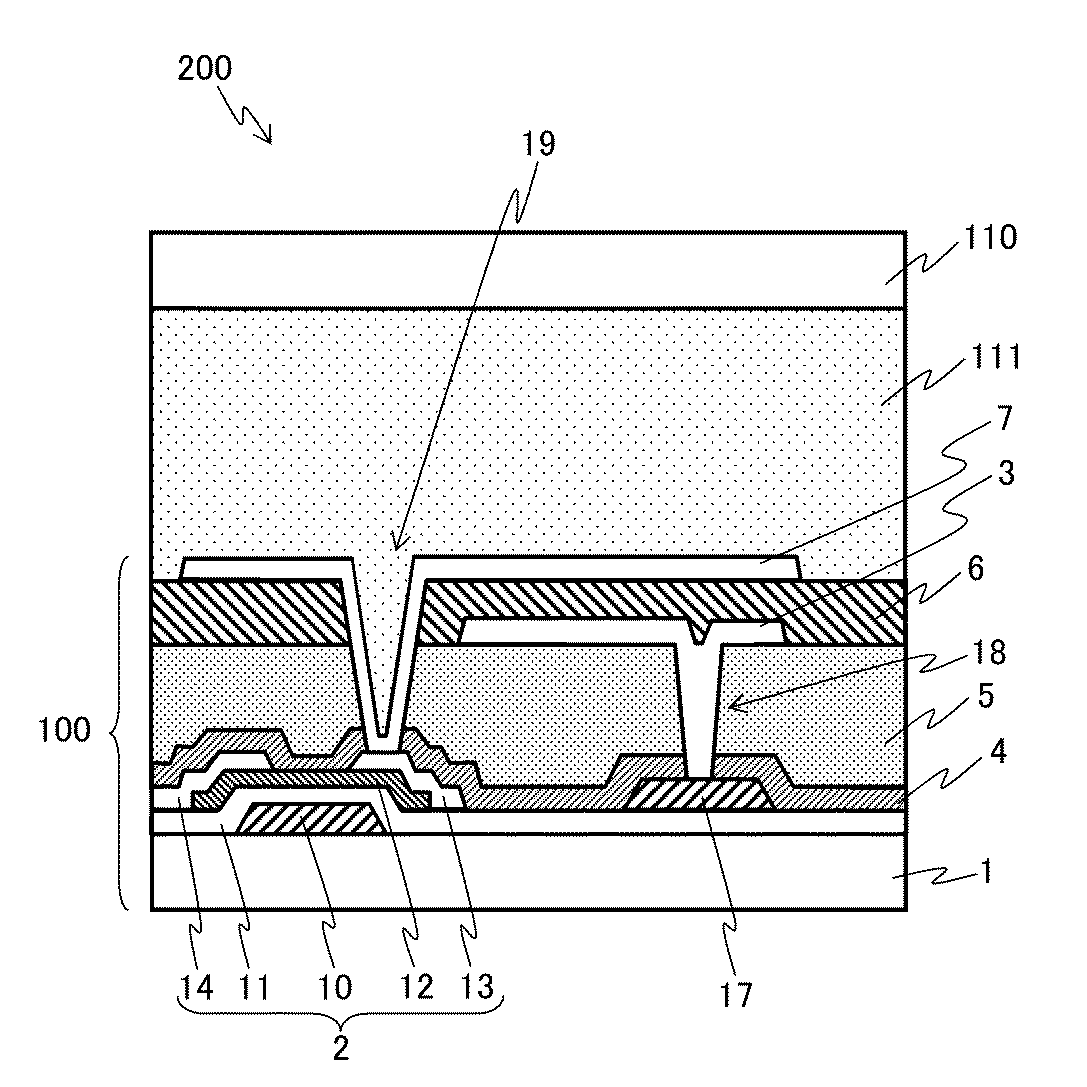
薄膜トランジスタ基板、液晶表示素子、感放射線性樹脂組成物および薄膜トランジスタ基板の製造方法
授权日:
1900-01-01
公开(公告)号:
JP2017009673A
申请日:
2015-06-17
公开(公告)日:
2017-01-12
当前申请(专利权)人:
JSR株式会社
发明人:
田中 圭 | 石川 大佑 | 清水 政宏 | 松本 貴博
简单同族:
JP2017009673A
简单同族成员数量:
1
简单同族被引用专利总数:
0
诉讼案件数:
0
法律状态/事件:
撤回